PSD Series
URL alias
/products-services/sound_micro-wireless_1-9ghz/lineup/wx-st400
Header image
Bands
タイトル
広い音声周波数帯域で、クリアな音質を実現
Band body
高圧縮率の音声コーデック採用により、広い音声周波数帯域100Hz~15kHzと新開発のノイズ抑制機能でクリアな音質を実現しました。
Item title
パソコン、音楽プレーヤー等の音源を簡単に再生可能
Item body
本機は外部入力端子(ライン入力)を備えているため、各種音源(パソコン、音楽プレーヤー等)を接続して、音源を簡単に再生できます。
Media
Media

Item title
電池・充電のトラブル回避で、安定した運用
Item body
- 単3形アルカリ乾電池、または単3形ニッケル水素電池1本で動作可能です。
- 本機を充電器にセットすることで、本機に装着した単3形ニッケル水素電池を充電できます。
- 充電器は非接触(無接点)方式のため、接点の汚れなどによる接触不良が少なく、安定した運用ができます。また、万が一充電忘れがあった場合も、単3形アルカリ乾電池対応のため、緊急対応が可能です。
Media
Media

Item title
<主な付属品>
Item body
- 動作確認用 単3形乾電池1本
Media
Background colour
White
Section intro title
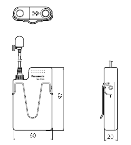
寸法図(単位:mm)
Media
Media

Band body
※[ご注意] ニッケル水素電池使用時、8時間動作する条件は次の様になります。
アンテナ・フィールド選択:中、無線同期設定:スタンドアローン、マイク電池設定:左記設定による、マイク音声設定:標準
アンテナ・フィールド選択:中、無線同期設定:スタンドアローン、マイク電池設定:左記設定による、マイク音声設定:標準
Weight
4
PIM Series